2025年11月14日
配天机器人2025年11月14日
TE2025年11月14日
西门子2025年11月14日
新时达2025年11月14日
蔡司工业
2025年11月13日
埃尔森
2025年11月10日
BBS
2025年11月07日
劳易测
2025年11月06日
和利时
2025年11月14日
威图
2025年11月14日
TE
2025年11月14日
KUKA
2025年11月14日
先导智能
2025年11月14日
TDK
汽车制动板是重型汽车的车轴配套关键零件,广东一家汽车车轴生产厂因车轴产品出口中东而需大量汽车制动板。为满足该食业低价位的配套要求,我们挖掘了,现有锻造设备的潜力,组成了生产线,低成本生产了车制动板模锻件,缓解了厂家的燃眉之急。
由于设备条件限制,采用750kg空气锤自由锻精确制坯、1000t摩擦压力机模锻、300t摩擦压力机热切边、100t油压机热冲孔、冷校正等组成生产线;在模具的设计和制坯锻造上,采用一些技巧,低成本开发、生产重型汽车制动板大型复杂模锻件的锻造生产工艺方法。
汽车制动板的材料为20Mn,形状复杂,设计要求批量模锻生产,切削加工余量小、强度高。其锻件形状、尺寸见图l。图1中除2个Φ60mm、Φ144mm、Φ70mm内孔及平面需切削加工外,其他都是黑皮表商锻件,不再进行切削加工。

1.汽车制动板模锻件结构特点
其结构特点为:①殿件形状复杂,有三个分模平面斜面,零件尺寸大。②锻件在分模面的投影面积大(约650cm²)。③锻件薄(锻件厚度9~56.5mm)。④锻件内孔大(内孔Φ144mm)。⑤压凹多,凸台筋板多(筋板宽度8mm)。⑥锻件余量小,单边加工余量2~2.5mm。
2.汽车制动板模锻件工艺分析
(1)确定汽车制动板模锻件投影面积及周长 锻件在水平面上的投影面积,按其几何形状计算得到
F=40 403mm²
锻件周边长度可以通过直接测量锻件平面投影的周长得到:X=1193mm。
(2)设备吨位的理论计算按经验公式进行核算:
P=(17.5~28)KF总
式中 P——摩擦压力机的公称压力,KN;
K——钢种系数,对20Mn材料,取K=l.1;
F总——锻件的总变形面积(约650cm²)。
因此,P=20×1.1×650kN=14 300kN。
模锻设备通常选用与计算数值接近而又稍微偏大的锻压设备。由此可见,重型汽车制动板若使用10 000kN摩擦压力机,设备吨位偏小,需要采取应对措施,小锤干大活,生产制动板模锻件。
(3)确定汽车制动板模锻件毛边槽尺寸 毛边槽的形状及尺寸对锻件的成形影响很大。锤上模锻时,金属流动过程大概分为四个阶段。第一阶段,坯料高度减小,径向尺寸逐渐增大,具有镦粗变形和局部压入变形特征。第二阶段,金属流动受到模壁的阻碍,有助于金属流向型槽高度方向,同时开始流入毛边槽,出现少许毛边,此时变形力明显增大。第三阶段,为充满型槽的过程,在变形金属内部形成更为强烈的三向压应力的状态,型槽内各处逐渐得到充满,毛边厚度越来越薄,宽度增加,温度下降,变形抗力明显上升。第四阶段,为锻足打靠的最后阶段,打击能量将达到整个锻件成形全过程所消耗能量的30%~50%;造成足够大的水平面方向的阻力,促使型槽充满,容纳多余金属,缓冲锤击。
毛边槽宽度尺寸按复杂程度高
的锻件选用,毛边槽桥部高毛边槽桥部b=14mm,毛边槽型槽宽b1=38mm,毛边槽断面积Sk=278mm²,毛边槽型槽高h1=5mm,入口处半径R=2mm。毛边槽形状及尺寸见图2。

(4)绘制计算毛坯的截面图和直径图 从制动板锻件上,选取18个典型断面,经计算、测绘得出如附表所示的截面数据。为了绘制毛坯的截面图,把锻件各断面总面积换算成高度,进而计算出截面直径。

制动板锻件的截面图、直径图如图3所示。

根据附表可得,制动板锻件的平均截面积为3170mm²,平均直径为64mm,最大计算直径为85mm。
3.汽车制动板模锻件工艺
(1)下料 经过上述测绘计算确定开料重量为12kg,结合材料市场实际情况,采用120mm方钢锻造,下料尺寸120mm×106mm。采用100t油压机冷剪切下料,调整上下剪刀片的间隙,使剪切断口整齐正常,过磅抽查确保坯料重量不小于要求重量,磨顺部分断口缺陷坯料,确保开料质量。
(2)加热 采用燃油加热炉加热到1200~1250℃.分段加热,控制好加热速度,保证加热质量。两火锻造,第一火加热原材料,进行制坯锻造;第二火对坯料进行加热,均热保温热透,入模锻造,因锻件大,锤击力略显不足,目测控制取加热温度上限,最大限度地提高塑性,降低变形抗力。
(3)制坯 制坯在750kg空气锤上自由锻制坯。工步复杂,且此工序极为关键,要求分料准确,制坯胎模模具设计精确,不能墨守成规。经过反复探索,确定两套成形胎模和一套冲孔胎模锻造、冲孔,两套成形胎模形状见图4、图5。


(4)模锻 在1000t摩擦压力机上模锻。
螺旋摩擦压力机是单模腔封闭力系锻造,导向性能好,打击速度慢。锻好的坯料直接从加热炉中取出,简单清除氧化皮后,人模锻造,制动板的锻造打击三次;用红铁充分预热成锻模、凹模至200℃。锻造过程中,采用重油石墨润滑,以减小摩擦,降低变形抗力,且有助于金属流动成形,方便锻件出模,并冷却成形锻模,使型槽表面温度≤450℃。
(5)切边、冲孔 在300t摩擦压力机上热切边、100t油压机上冲孔。在1000t摩擦压力机上成形模锻后,立即在300t摩擦压力机上进行热切边,做好限位,使凸模进入凹模10~20mm。切边后的锻件坯料立即送入下一个工位,进行简单冲孔,切除内孔连皮。
(6)正火 在100t油压机上冷校正,抛丸清理氧化皮,磨除毛刺。涂底漆。
为了消除制动板锻件的残余应力,改善其组织和力学、切削加工性能,需要对锻件进行正火处理。由于制动板锻件具有复杂、薄、落差大的特点,在后续工序中,发生了弯曲、扭转等变形,所以必须对锻件进行冷校正,使锻件符合图样图求,并磨除部分锻件的毛刺,消除表面缺陷,滚筒抛丸清除氧化皮,提高表面质量,涂防锈底漆以使制动板锻件加工后可直接安装于车轴上。
4.汽车制动板模锻模具结构设计
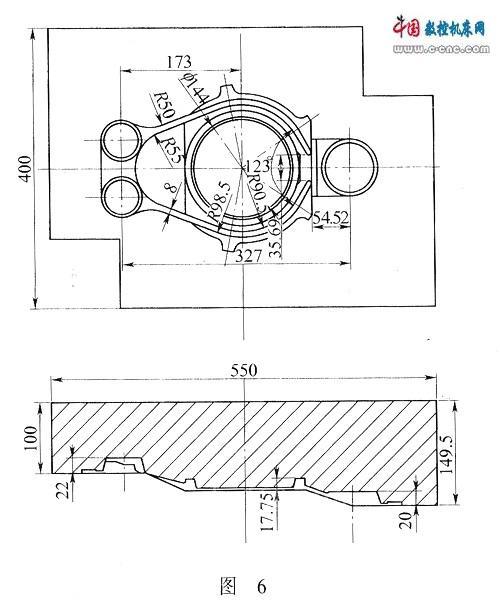
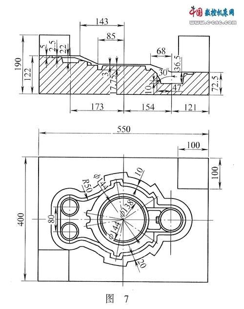
(1)成形模 锻模传递动力,迫使金属毛坯成形,承受反复瞬时冲击载荷和冷热交变作用,工作条件繁重,产生应力大。制动板锻件有三个分模面及斜面,模锻过程中易产生水平分力,引起锻模错移,使用对角锁扣来平衡水平错移力。按l%的冷缩率设计模具,采用螺栓、压板紧固。模具采用5CrMnMo材料制造,模具热处理淬火硬度42~46HRC。鉴于制动板零件的低价战略,模具制造时,最大限度地采用车、铣、钻、刨和磨这些低成本普通机加工方法和钳工修磨方法,极少部分采用了电火花加工方法。同时制造两套模具,便于维修更换,不影响生产。模具维修也采用氩弧填焊的方法,做好细节降低成本。成形模形状尺寸见图6、图7。


(2)冲孔模 采用冲子冲除锻件孔内连皮。冲孔凹模起支撑锻件的作用,冲子刃口部分的尺寸按冲孔尺寸确定。
(3)切边模 切边模刃口尺寸按成形模型尺寸单边间隙1mm设计,凸凹模间隙取单边间隙2.5mm;边模平而勺成形下模一致,采用螺栓压板紧周;切边模凹模用Cr12MoV材料制作,模具热处婵淬火硬度42~46HRC;切边凸模起传递压力的作用,采用5CrMnMo材料,模具热处删淬火硬度42~46HRC。
5.结语
重型汽车制动板的锻造,虽然繁杂、工步多,但通过集思广益,我们充分利用现有的生产条件,大批量锻造生产了重型汽车制动板,满足了重型汽车车轴零部件出口的市场低价位配套的要求,提升了企业的模锻竞争力,开拓了经营市场,为企业赢得了声誉和经济效益。