2025年11月14日
配天机器人2025年11月14日
TE2025年11月14日
西门子2025年11月14日
新时达2025年11月14日
蔡司工业
2025年11月13日
埃尔森
2025年11月10日
BBS
2025年11月07日
劳易测
2025年11月06日
和利时
2025年11月14日
威图
2025年11月14日
TE
2025年11月14日
KUKA
2025年11月14日
先导智能
2025年11月14日
TDK
1轴瓦
轴瓦是用于发动机内曲轴轴颈等部位的滑动轴承,其构成是由一种以钢带为衬底、表面附着一层轴承合金的双金属钢带,并通过一系列的加工而成。这层轴承合金通常有三种:巴氏合金、铝锡合金和铜铅合金。本机是为绍兴纺织机械厂设计制造的用于加工EQ140-1主轴翻边瓦(图1)的内圆精加工拉床。此主轴翻边瓦的轴承合金为铝锡合金,拉床切削的部分即为轴承合金层部分。

图1EQ140-1主轴翻边瓦
2轴瓦内圆精加工工艺及特点
轴瓦内圆精加工主要有两种方法,一种是镗削加工,一种是拉削加工,其各自的特点见表1。
加工方法 镗削 拉削
壁厚精度(mm) 国内 0.006
0.01
国外 0.004 0.006
表面粗糙度Ra(μm) 国内 0.4 0.4
国外 0.2 0.1
生产率(件/小时) 国内 300 500
国外 400 1200
3目前国内轴瓦内圆拉床的状况
目前国内轴瓦内圆拉床的一般状况为:
夹具采用龙门结构,但刚性不强,调整不方便;拉刀专用滑台采用传统的滑动导轨,导轨间隙大,滑台的直线运动精度差(0.016/1000),摩擦阻力大,导致驱动油缸发热量大,机术精度的稳定性不好,一般一天要调整2~3次;另外,机床的下料、排屑均为人工操作,劳动强度大,生产效率不高。为使产品零件的精度和产量不断提高,我们对拉床进行了重新设计,以解决精度差、生产率低和稳定性差等问题。
4机床的总体布局
本机床采用卧式布置(指滑台水平布置,见图2),由夹具、拉胎、滑台、拉刀、上料装置、下料装置以及电气、液压等部件所组成,其加工过程为:将零件放入上料装置的集料槽中,滑台从B点开始左行至A点,从集料槽中自动取一片料,然后右行回到B点,同时将料带到C点;顶料器在C点将料顶入拉胎内,夹具中的夹紧装置将零件夹紧,顶料器返回;滑台再次左行,带动拉刀拉削工件到A点;再次取料,同时在C点将刚拉好的料下料;下料装置随着滑台的再次右行将拉好的零件带走并推入下料装置理料槽中集放;待槽中的料放满后人工取走。这样,一个动作循环便完成了。循环的所有动作均在PLC机的控制下自动进行。

图2机床总体布局
1.床身2.上料装置3.夹具4.拉刀5.下料装置
6.理料槽7.油缸8.控制电柜9.液压站
5机床的主要部件及技术要求
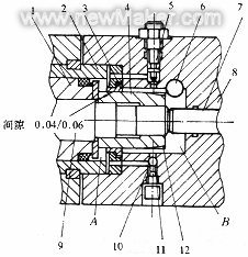
机床的夹具采用龙门式结构(见图3),具有支承拉胎、夹紧工件的功能。由于夹具要承受全部的拉削力,所以要有足够的刚性,以抵挡拉削时大约20000N的冲击力。

图3夹具
1.微调螺母2.夹紧油缸3.夹具体4、6、10.拉杆5.斜槽滑块7.平衡杠杆8、9.微调斜块11.压板12、21.拉胎13.刀具14.滑台15.转轴16.转销17.打料油缸18.打料杠杆19.挡块20.打料滑块
夹紧机构是夹具的关键部件。第一,要求在夹紧时不影响拉削过程,由于轴瓦的夹压点在轴瓦对口面的钢背上,而钢背厚度为2.15mm,夹压宽度最大为2mm,故每次动作时压板的位置一定要准确,以免压多了碰刀,压少了又压不着。所以压板要设定定位台阶。放松时压板缩回要充分,以免下料时碰零件。第二,夹紧力要合适,一般夹压力为检测轴瓦高度时所施力的150%,本机为11000N,较为适宜。如果夹紧力太大,会在轴瓦夹压点上留下夹压的痕迹;夹紧力太小,轴瓦定位面与拉胎定位面的贴合率达不到80%以上,又会影响拉削精度的稳定性。第三,轴瓦两个对口面上夹压力要相等,否则轴瓦便会在拉胎内转动。本机床采用对称的拉杆施力机构,可使两边的夹压力相等。第四,夹紧要自锁,以免在拉削中油缸大量进油时引起油压波动而影响产品精度的稳定性。本机床采用斜面自锁装置,自锁角度为13°(见图3),能可靠地锁紧。
拉胎是一个高精度的零件,夹具体上拉胎支承面也要求有较高的精度。但由于安装后拉胎圆弧面的曲线与圆拉刀的轴线难以同心,所以拉胎在夹具上应有上下左右的微量调整,见图3。本机采用1∶100的斜面进行调整,方便可靠,精度保持性良好。
由于轴瓦是个有弹性的零件,当夹紧压板松开后,零件一般不会自己掉下来,所以需要在钢背上打击一下。为了不把零件打伤,材料装置(见图3)中的打料杠杆有意削掉一部分,形成一个薄弱的缺口,以便增加弹性,缓冲打击力,既避免打伤零件,又不影响加工的节拍。
滑台(见图4)是带动拉刀进行切削的动力部件,其好坏直接影响着零件的加工精度。本机床的滑台为一油压驱动滑台,该滑台要有较高的直线运动精度、较大的推动力(本机油缸推力为35000N)和较高的运动速度。这不仅可以提高效率,而且可以改善零件的表面粗糙度和减少切削阻力。其滑台的拉削速度为20m/min,返回速度为34m/min。而旧式的滑动导轨滑台是难以达到这些要求的,因此,本机床采用无间隙滚动导轨,选用六个滑块(每根导轨三个滑块,见图4),并提高了滑鞍的刚性和承载能力。由于滚动导轨具有较高的直线运动精度(0.008/1000)和较小的滚动摩擦系数(0.005),而且可以对导轨进行预紧,形成无间隙滚动,从而保证了滑台在较大的负载阻力下能平稳地作直线运动,不仅发热较小,而且维修和更换都很方便。

图4滑台
1.滑块2.滑鞍3.油缸4.压板5.压块6.油缸支座7.导轨8.床身
滑台油缸也是一个关键部件,由于滑台的运动速度较高,所以油缸要有良好的缓冲装置,以减小冲击。本油缸采用前、后盖可调缓冲装置,见图5。以后盖为例,其原理为:当件4进入件3后,三角槽开始节流,A腔油通过三角槽进入B腔;当三角槽封闭后,A腔油经过可调节流锥阀进入B腔,从而形成比三角槽更小的节流,并形成缓冲。此种结构产生的缓冲效果理想,即使机床在高速运行后再停止,也感觉不到有冲击现象。

图5缓冲装置
1.活塞2.缸筒3.节流环4.阻尼套5.节流锥阀6.油口7.挡铁8.后盖9.活塞杆10.钢球11.弹簧12.三角槽
刀具与零件的加工质量有着最密切的关系。本机床的拉刀由9片圆形刀片用心轴贯穿锁紧而成(见图6),第1~第4片为粗切削刀片,每齿升量均为0.1mm,第5~第8片为切齿和校对齿,齿升量见表2。第9片为偏心安装(心轴后部有个向下偏心2mm的台阶),用来切削轴瓦两边的油槽。整个拉刀由刀架固紧在滑鞍上,松开时每个刀片均可转动。当刀片磨损后,将刀片转动180°可继续使用。另外,拉刀在使用之前最好研磨一下,这样拉出的轴瓦精度稳定,拉削面光亮如镜,粗糙度可达Ra0.1μm;否则拉出的零件表面上有一条一条的痕迹。

图6拉刀
1.锁紧螺母2、4.隔套3.刀片5.心轴
齿号 4~5 5~6 6~7 7~8
齿升量(mm) 0.08 0.06 0.04 0.04
自动上下料装置对机床高速稳定可靠地运行作用非常大。上料装置由集料槽和隔料器组成(见图7)。集料槽可垂直集放15个轴瓦,在上料时,隔料器把上面的料与最下面一片料隔开,以免在自动上料时同时上两片。下料装置由滑块式接料器与理料槽组成(见图8),它们的动作均以滑台左右运动时,对之加以碰撞来完成。动作为:滑台左行至A点时,撞击隔料器向左移——隔料,此时最下面的一片料就落入滑台上的顶料器上(待顶料器随滑台回到C点时,将料顶入拉胎内),同时在C点已加工好的轴瓦,就被打落到下料滑块的接料槽上;滑台右行,隔料器在弹簧的作用下右移——放料,到B点时,下料滑块撞到固定在床身上的理料槽,料被自动移到理料槽中集放,放满后(15件)就被工人取走。这样,就完成了一个上下料循环。此上下料装置结构简单、可靠,用起来十分方便。

图7上料装置
1.托料板2.集料槽3.弹簧4.隔料板5.螺母6.顶料口7.撞块8.滑台9.支架

图8下料装置
1.滑台2.推料器3.滑道4.滑块5.拉簧6.理料槽7.支架
6结束语
本机床经用户几年的使用表明:能自动正常运行,故障少,精度稳定。其稳定精度为:壁厚公差为0.007mm,表面粗糙度为Ra0.1μm,生产率为650片/小时。本机床只需要更换拉胎部件、拉刀(同直径不换)和调整集料槽,就可适应不同种类、不同规格、不同材料轴瓦的加工,其不足之处是排屑不很理想。