2025年11月14日
配天机器人2025年11月14日
TE2025年11月14日
西门子2025年11月14日
新时达2025年11月14日
蔡司工业
2025年11月13日
埃尔森
2025年11月10日
BBS
2025年11月07日
劳易测
2025年11月06日
和利时
2025年11月14日
威图
2025年11月14日
TE
2025年11月14日
KUKA
2025年11月14日
先导智能
2025年11月14日
TDK
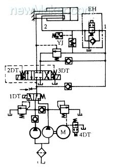
Z 126组合机床为我厂支架-发动机前悬置卧式镗孔车端面组合机床。本机床镗孔、车端面的进给以及工件的夹紧均采用液压驱动,机床液压系统工作原理如图1所示。该机床长期运行后出现动力滑台工进时爬行现象。

图1 Z 126型组合机床滑台液压缸部分液压原理图
爬行是机床低速运动时常见的故障,由于液压系统的密闭性及多信息模式,使得上述故障的排除过程比较复杂,本文就这一实例进行详细分析如下。
2 故障状况
执行器快速时动作正常,转为工进即开始爬行,油箱油液状况正常,液压缸工作压力无明显变化,排气后故障未消除。
3 故障分析
为了避免大量地盲目拆卸,提高效率,减少液压件的浪费,要进行必要的分析。
本文将对爬行现象的各种因素进行归纳总结,结合此例说明其原因及排除方法。
3.1 液压系统油液中混有空气导致爬行故障
混入液压系统的空气以游离的气泡形式存在于液压油中,油液的可压缩性急剧增加,由于执行器负载的波动使油液压力脉动,导致气体膨胀或收缩而引起执行器供油流量明显变化,表现出低速时忽快忽慢、甚至时断时续的爬行现象。这种原因引起了爬行是最为常见的。
液压系统混有空气可按两种情况分析。
3.1.1 液压泵连续进气
1) 故障现象
压力表显示值较低,液压缸工作无力,油面有气泡,甚至出现油液发白及尖叫声。
2) 故障原因及检测排除
由于液压泵吸油侧油管接头螺母松动而吸气;密封件损坏或密封不可靠而进气;油箱内油液不足,油面过低,吸油管在吸油时因液面波浪状导致吸油管端间断性地露出液面而吸入空气;吸油过滤器堵塞使吸油管形成局部真空产生气穴现象。
较大进气部位可以通过直观观察较易找到,微小渗漏部位须经必要的检查方能查出。可将液压泵吸油侧和吸油管段部分清洗干净后,涂上一层稀润滑脂,重新起动泵,涂有润滑脂各部位没有被吸而成为皱褶状或开裂表明并非有密封不严的部位,反之则表明形成皱褶甚至开裂处即为进气部位。找到进气部位时根据具体情况或拧紧管接头或更换密封圈及液压元件。如系油面过低应及时加油,若噪声过大则应检查并清洗过滤器。
油液混有空气而发出的尖叫声极易分辨,根据Z126型机床的噪声及油液气泡情况、液压缸工作压力不难否定此故障原因。
3.1.2 液压系统内存有空气
1) 故障现象
压力表显示值正常或稍偏低,液压缸两端爬行,并伴有振动及强烈的噪声,油箱无气泡或气泡较少。
2) 故障原因及检测排除
故障原因有3种情况。一是液压系统装配过程中存有空气;二是系统个别区域形成局部真空;三是液压系统高压区有密封不可靠或外漏处,工作时表现为漏油、 不工作时则进入空气。
第1种情况往往发生在新设备上,通过排气后可消除爬行,第2种情况在新老设备上均有可能出现,或为新设备的设计、装配不合理导致某一区域内油液阻力过大,压降过大;或为老设备的杂质堆积,油液流经狭窄缝隙产生急剧的压降,尤其在流量阀中节流孔处易出现此情况,通过清洗可消除故障。第3种情况可通过直接观察来发现。这类故障的两大特征是有明显的两端爬行规律和排气后故障消失或减轻。至于本机床显然应根据设备使用期限及故障现象特征对上述故障因素加以排除。
3.2 滑动副摩擦阻力不均导致爬行故障
3.2.1 导轨面润滑条件不良
1) 故障现象
压力表显示值正常,用手触检执行器有轻微摆振且节奏感很强。
2) 故障原因及检测排除
执行器低速运动时润滑油油楔作用减弱,油膜厚度减小。这时润滑油选择不当或因油温变化导致润滑性能差、润滑油稳定器工作性能差或压力与流量调整不当、润滑系统油路堵塞均可使油膜破裂程度加剧;导轨面刮点不合要求、过多过少等都会造成油膜破裂形成局部或大部分的半干摩擦或干摩擦,从而出现爬行。而后一因素主要发生在新设备上。
由此看来,本机床若属润滑条件不良,应为润滑油温度变化改变润滑油性能、压力与流量的调整、以及润滑油路的堵塞等因素。用手搓捻润滑油检查滑感,观察油槽内润滑油流速,检查压力、流量(流速过低为压力低、流量少,流速过高则为压力高所致),判断润滑油稳定器工作情况,如有相应问题则或更换润滑油、或调整其压力与流量、或清洗润滑孔道系统,从而恢复润滑性能,直至执行器运动平稳。
通过观察此机床并无明显的润滑条件的变化,初步否定上述因素。
3.2.2 机械别劲
1) 故障现象
压力表显示值较高或稍高,爬行部位及规律性较强,甚至伴有抖动。
2) 故障原因及检测排除
运动部件尺何精度发生变化、装配精度低均会导致摩擦阻力不均,容易引起执行器产生爬行。例如液压缸活塞杆弯曲,液压缸与导轨不平行,导轨或滑块的压紧块(条)夹得太紧,或活塞杆两端螺母旋得太紧,密封件压盈量过大,活塞杆与活塞不同轴,液压缸内壁或活塞表面拉毛,这些情况都是引起故障的原因。有的情况表现为液压缸两端爬行逐渐加剧,如活塞与活塞杆不同轴;有的情况表现为局部压力升高,爬行部位明显,如液压缸内壁或活塞表面拉伤、局部磨损严重或腐蚀等。
这类故障常在特定情况下发生,如新设备调试中、设备外伤时。主要原因是制造、装配精度未能保证,或外伤后精度被破坏。至于是否为液压缸内壁或活塞表面质量破坏所致,则需对液压缸进行拆卸方能得知,而这一工作量是较大的。
3.3 液压元件内漏或失灵
1) 故障分析
若液压元件磨损、堵塞、卡死失灵也会造成低速爬行。比如图中若单向行程阀因磨损而造成关闭不严,低速运动时则会对液压缸回油流量有较大影响,负载波动使压力脉动时造成单向行程阀内漏量忽大忽小,引起液压缸速度忽快忽慢;若调速阀中室差式减压阀阀芯被卡住失灵,此时调速阀所调节的流量稳定性就会无法保证,甚至出现周期性的脉动,而节流孔的“堵塞现象”也是典型的引起流量周期性脉动的因素,最后导致低速时的爬行。总之,液压元件故障会在系统中产生相对应的现象。
2) 故障检测及排除
为了避免盲目地更换阀造成不必要的浪费,在对调速阀进行拆卸、清洗、直到更换仍未消除爬行现象时,又将单向行程阀出口油管1拆下,使液压缸工进,观察油管1无漏油,说明非单向行程阀关闭不严;进而将液压缸活塞杆伸出至终点位置,然后卸下回油管2,使液压缸无杆腔进油,在有杆腔出油口处向外滴淌油液,说明液压缸有内漏。
经过拆卸液压缸,检查并发现活塞上密封圈已失效,更换密封圈后装好液压缸及其他元件,仔细检查液压系统后重新起动液压泵,爬行现象消除。
4 结语
本机床液压系统的故障维修工作历时二日,初期生产现场通过大量更换零件,不但未能解决问题,反而使维修工作更加复杂,耽误了生产,造成了浪费;后期通过技术人员的认真分析,使问题明朗化,及时地解决了问题,使濒于流水作业停产的危机得到了扭转。可见快速、准确地查找、维修液压故障的重要性。
液压故障维修通常应遵循这样的过程:认真观察故障现象→看懂液压原理图→详细、全面地分析→最后拆卸检修。
在进行故障原因的分析与检测时,通常可采用观、听、摸、闻、问等手法;在考虑故障原因的可能性因素时,还应对新老设备区别对待,这样才能判断准确、少走弯路。总之,在正确分析的基础之上,最大限度地缩小检查范围,对最有可能的故障源进行由简到繁的检测,应是我们遵循的宗旨。