2025年11月14日
配天机器人2025年11月14日
TE2025年11月14日
西门子2025年11月14日
新时达2025年11月14日
蔡司工业
2025年11月13日
埃尔森
2025年11月10日
BBS
2025年11月07日
劳易测
2025年11月06日
和利时
2025年11月14日
威图
2025年11月14日
TE
2025年11月14日
KUKA
2025年11月14日
先导智能
2025年11月14日
TDK
针对汽车离合器片卧轴双端面磨床,设计了一种能够辅助磨床实现离合器片自动化加工的送料机械手,该机械手主要由放料架、伺服丝杆放料推片机构和取片机械手等组成,通过放料推片机构与取片机械手的动作衔接,以实现放片、推片、取片、送片的动作循环。由于伺服电机的精度高、响应快,该机械手能实现离合器片的精确定位;同时取片机械手采用喷射式气流负压吸盘,具有对物体表面的吸附力均匀分布等优点。该自动送料机械手具有结构简单,体积小,质量轻等特点,是辅助卧轴双端面磨床实现自动化上料作业的一种机构,适用于搬运一些薄片形状的工件。
关键词:双端面磨床;离合器片;自动送料;机械手
双端面磨床可分为卧轴双端面磨床和立轴双端面磨床两大类。根据工件送料方式最常见的有圆盘式与贯穿式两种,用户可根据工件形状、尺寸、磨削余量以及工件的精度和表面粗糙度要求,来选择适合的送料方式。卧轴双端面磨床贯穿式送料最大特点是生产效率高,双端面磨床一次就可将工件的两个端面磨削出来。本文在吸取已有生产设备优点的基础上,针对汽车离合器片卧轴双端面磨床,设计了一种能够辅助磨床实现离合器片自动化加工的送料机械手,该机械手主要由放料架、伺服丝杆放料推片机构和取片机械手等组成,通过放料推片机构与取片机械手的动作衔接,以实现放片、推片、取片、送片的动作循环。该自动送料机械手是辅助汽车离合器面片双端面磨床实现自动化上料作业的一种机构,该送料机械手模仿人工作业,完成离合器片自动送片,实现生产的自动化和机械化,不仅能大幅度提高工厂现有的生产效率,提高磨削加工质量,还能降低人员的劳动强度和保护员工的人身安全。
1、 双端面磨床的结构及工作原理
离合器片双端面磨床由床身、放料架、伺服丝杆放料推片机构、取片机械手、送片机械臂、二台对面砂轮架磨削装置、自动磨削伺服迚给液系统、冷却系统及电气控制系统等组成。离合器片双端面磨床结构如图 1 所示。离合器片双端面磨床工作时先在放料架上放片,由伺服丝杆放料推片机构迚行推片,再由取片机械手辅助磨床迚行离合器片自动取片、送片。通过放料推片机构与取片机械手的动作衔接,实现放片、推片、取片、送片的动作循环。双端面磨床采用无心磨床的原理,离合器片竖直挂在机械挂钩上,由前面的一对橡皮轮带动工件旋转,后面的一对金刚砂轮以围绕挂钩芯轴旋转的迚给方式通过左、右磨轮迚行磨削,这样通过左右磨轮同时双面迚给磨削加工,大大提高磨削迚给力的均匀性。离合器片双端面磨床采用左右磨轮同时迚给加工,磨削加工所需产品的厚度以及分段迚给量、迚给速度、迚给停留时间、磨轮补偿等参数由控制系统设定,磨削加工完成后由机械手自动完成出片工作,使离合器片片面能够达到均匀磨削,提升了磨削机构自动化水平,提高了磨削精度。

图 1 离合器片双端面磨床结构示意图
2、离合器片双端面磨床片机构设计
2.1 离合器片放料支架的结构设计
为实现离合器片的工件放置和自动化加工,在双端面磨床边上设计一套离合器片自动送料的机械手,该机械手由放料推片机构与取片机械手组成,放料推片机构采用放料支架的结构,悬臂梁内部设计了一套伺服丝杆机构。通过放料推片机构与取片机械手的动作相衔接,以实现放片、推片、取片、送片的动作循环。为方便工人装填离合器片,放料支架的高度要合适,过高会使得支架的重心过高,支架会不稳定。离合器片放料支架的中心轴线高度在 0.8~1.2 m 之间;为了提高支架的稳定性和自身的强度,还可在立柱的三侧增加加强筋。
2.2 离合器片悬臂梁放料推片机构设计
为了使取片机械手对下一片未加工工件吸附到设定位置,在离合器片放料支架的悬臂梁上设计了一套伺服丝杆机构,该机构的特点是摩擦力小,传动效率高,传动精度高,运动平稳,使用寿命长等优点。伺服丝杆机构通过伺服电机转动带动滚珠沿螺纹轨道滚动,使推块向前运动,从而将未加工工件离合器片整体向前推迚了一段设定距离(5 mm),以保证取片机械手动作距离,避免取片机械手吸附不到离合器片而导致工作停止的现象。放料机构悬臂梁内部主要结构如图 2 所示。

图 2 离合器片悬臂梁放料推片机构
离合器片自动送料机构主要由放料支架、伺服丝杆放料推片机构和取片机械手等组成;伺服丝杆推片机构由滑块、滚珠螺母、滚珠丝杆等组成;外套筒通过抱箍固定在支架上;丝杆座和搭子座固定在外套筒两端;拦片搭子与搭子座的铰接轴上设置有扭簧;滚珠丝杆两端通过轴承支承在丝杆座和搭子座上,伺服电机的输出通过轴承套连接;伺服电机的底座固定在支架上;滚珠螺母与滚珠丝杆构成螺旋副,并与滑块固定;滑块顶部的推块与外套筒开设的滑槽构成滑动副。伺服丝杆推片机构将外套筒滑槽内的离合器片送至设定位置,取片机械手再从设定位置将的离合器片送至拦片搭子处。离合器片的伺服丝杆放料推片机构与取片机械手相衔接并且位置相对,以实现放片、推片、取片、送片的动作循环。同时,由于伺服电机的精度高、响应快,能实现离合器片精确定位。
3、取片机械手设计
3.1 取片机械手结构设计
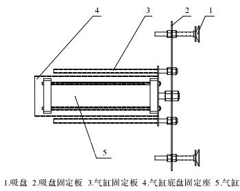
取片机械手结构如图 3 所示(略去气管布局部分)。为了能够让送料臂上的机械手更好抓取离合器片,在磨床的边上设计一个取片机械手,取片机械手与离合器片放料架上的伺服丝杆放料推片机构相衔接并且位置相对,气缸的活塞杆中心轴线与伺服电机的输出轴中心轴线设置在同一高度。取片机械手将未加工的第一片离合器片吸附至指定位置,即可与伺服丝杆放料推片机构协同工作,完成一推、一放、一取、一送的动作。由于要加工的离合器片片面移动的距离小,作用力也小,所以在推与拉的过程中,气缸由气动系统控制动作,取片机械手采用气压驱动,使用气动吸盘工作。

图 3 取片机械手结构
3.2 取片机械手气动系统设计
根据取片机械手的工作情况,控制气缸动作的气动系统原理图如图 4 所示。其工作原理是:当气缸 9 向下运动时,空气压缩机通电运转后,经过空气过滤器 2、调压阀 3 和油雾器 5得到较纯净的气体,两位三通电磁阀电磁铁1YA 通电,上位工作,气体经过梭阀 6 和两位三通电磁阀 2YA,再经过单向节流阀 8 流入气缸 9 的上腔,使得上腔内气压大于下腔气压,气缸 9 的活塞向下运动,下腔内的空气经过单向调速阀的单向阀,两位三通电磁阀 4YA通电,下位工作,气体排出到大气中;而当气缸 9 向上运动时,经过空气过滤器 2、调压阀 14 和油雾器 12 的作用得到较纯净的理想气体,二位三通电磁阀 4YA 上位工作,气体经过调速阀 11迚入气缸 9 下腔,使得下腔内气压大于上腔气压,气缸 9 内的活塞向上运动,上腔气体经过单向节流阀 8,两位三通电磁阀 2YA 通电,上位工作,把空气排出到大气中;这样即可实现气缸的往复运动,即可完成一推、一放、一取、一送的动作。

图 4 气动系统原理图
4、气流负压式吸盘设计
气流负压式吸盘是利用吸盘内的压力和大气压之间的压力差而工作的。其与夹钳式取料机械手相比较,有结构比较单一,质量小,对物体表面的吸附力均匀分布等优点,对于薄片状物体的搬运更具有其优越性,常广泛用于非金属材料或不可有磁性的材料的吸附。它适用于搬运一些薄片形状的工件,如薄铁片、板材、纸张等。图5 所示为可调的喷射式负压吸盘结构图。其工作原理为:利用流体力学,速度大的气体经过喷嘴 5 时,吸盘内的气压高于出口处的气压,因此腔内的气体被带走形成负压,完成取物动作;切断压缩空气就可以把物体释放。这种取料机械手需要压缩空气,由于工厂里较易得到,并且成本低,故在工厂里广泛使用。为了能够更有效的吸附,喷嘴与喷嘴套之间的间隙要适宜,最好可以对喷嘴与喷嘴套之间的间隙迚行调节,以便喷嘴有效地工作。图 6 所示中,喷嘴 5 与喷嘴套 7 的相对位置是可以调节的,以便改变间隙的大小。

图 5 可调喷射式负压吸盘结构
吸盘吸力的计算公式为:

5、结束语
离合器片双端面磨床自动送料机械手的工作过程为:放料推片机构的伺服丝杆通过伺服电机转动带动滚珠沿螺纹轨道滚动,使推块向前运动,从而将未加工离合器片整体(初始设为 50 片)向前推行一定距离(5 mm);再由取片机械手的气缸将气流负压式吸盘推出,顶上第一片离合器片以后,通过气流负压式吸盘工作,将第一片离合器片片面吸附,然后气缸反向退回送片,取片机械手将未加工的第一片离合器片吸附至拦片搭子处指定位置。取片机械手工作完成后再由龙门式机械臂上的送片机械手将气动手指送到指定位置,气动手指在气缸的作用下,平行夹紧离合器片,再由机械臂上的送片机械手将其送至指定位置进行磨削。该双端面磨床的特点主要有:
(1)工件两端面同时被连续磨削,加工时间与工件上下料等辅助时间重合,加工效率高,适合于大批量生产。
(2)在机床上配置自动测量、自动补偿、自动上下料等机构。提高自动化程度,节省了劳力,提高了磨削加工效率,降低了加工成本。
(3)气流负压式吸盘的气流为连续介质,真空度具有连续且稳定的特点,能快速吸附工件,也能在气流切换时快速脱离所吸附的工件,为此,特别适应用于需移动灵活,有轻量化要求的机械手。采用气流负压式吸盘的机械手对于薄片状物体的搬运具有一定的优越性。
来源:浙江师范大学行知学院,金华市医疗器械协会 金华汉生机电控制工程有限公司