2025年11月14日
配天机器人2025年11月14日
TE2025年11月14日
西门子2025年11月14日
新时达2025年11月14日
蔡司工业
2025年11月13日
埃尔森
2025年11月10日
BBS
2025年11月07日
劳易测
2025年11月06日
和利时
2025年11月14日
威图
2025年11月14日
TE
2025年11月14日
KUKA
2025年11月14日
先导智能
2025年11月14日
TDK
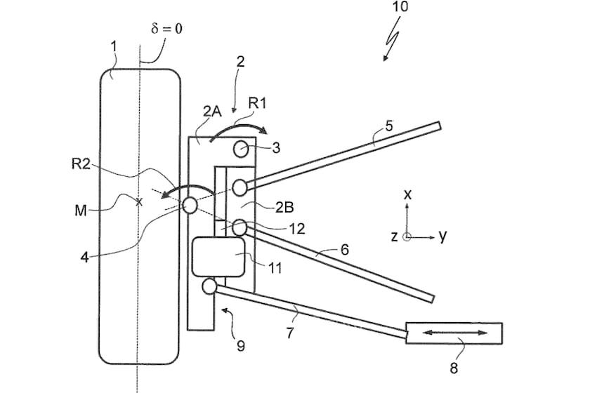
后轮转向并非新鲜事物。最近,保时捷918 Spyder、法拉利F12tdf和兰博基尼的Aventado Ultimae等车型,均采用了后轮转向系统。在很多更为日常的汽车中,这项技术也得到应用,如雷诺拉古娜GT,以及配备一体化主动转向的宝马5系和7系大车身轿车。然而,这些系统的性能仍有可提升之处。

据外媒报道,德国宝马汽车公司已向美国专利和商标局(United States Patent and Trademark Office)申请了一项新发明。该品牌声称现有系统过于笨重,大多数系统使用转向横拉杆来调整每个后轮的束角,而且在这一空间内,车辆还需要容纳副车架、车轴,以及差速器和侧轴等部件。宝马表示,这使角度局限在“最多5度”。为了解决这一问题,在每个轮毂上额外增加轮架,每个轮架的下部配有通过槽形导轨控制的致动器。据介绍,这可以使后轮角度高达10度,而不增加后部组件的空间限制。
这项发明若能投产,将使该制造商的所有车型受益。如在宝马M4这样的车型上,可以大幅减少虚拟轴距,明显提高低速急转弯的操控能力,同时改善高速稳定性。据推测,这项技术可能首先用于大型车辆,比如新的宝马7系。随着这些豪华车型逐年变大,停起车来也不那么容易。由于这一增强后轴转向系统缩短了虚拟轴距,在日常生活中操控像XM这样的大家伙,可能更轻松一些。