2025年11月14日
配天机器人2025年11月14日
TE2025年11月14日
西门子2025年11月14日
新时达2025年11月14日
蔡司工业
2025年11月13日
埃尔森
2025年11月10日
BBS
2025年11月07日
劳易测
2025年11月06日
和利时
2025年11月14日
威图
2025年11月14日
TE
2025年11月14日
KUKA
2025年11月14日
先导智能
2025年11月14日
TDK
本操作法适用于正四面体三校锥件的加工及镂空内形的加工。
正四面体三棱锥件在车床上加工时,装夹、找正和定位困难,使用通用夹具无法加工出理想零件。在对正四面体三棱锥件进行镂空处理时,因为零件壁厚变薄,在加工时零件会变形、断裂,所以各个孔的直径尺寸及深度尺寸需要准确控制,如何保证镂空时零件的强度和刚性,需要设计出可靠的定位夹紧方案和专用夹具装置。
(本篇选自《机械加工特色操作及实用案例》第一章(二十八)正四面体三棱锥镂空件的车削加工操作法)
加工方法:针对上述加工不足,提供一种能够快速装夹找正的正四面体三棱锥加工夹具,使得能够在车床上加工正四面体三棱锥,该方法操作简单,提升了加工效率,节约了加工成本。以下是一种正四面体件的加工及镂空内形的加工工艺方案。
(

(2)划线:在φ80mm外表面画120°等分线。
(

(
mm,深度8.4mm的圆柱孔,松开螺母3和螺母6将毛坯5旋转120°,找正正三棱锥平面,拧紧螺母3,压紧正压盖2,螺母6固定毛坯5,在第二个正三棱锥平面上车削直径φ33.6
mm、深度8.4mm的圆柱孔。用类似方法加工正三棱锥第三个平面的圆柱孔。
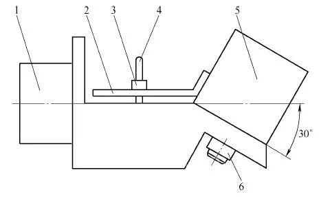
图1-127 正四面体三棱锥件车削加工镂空的三面装夹结构示意
1—夹具体 2—正压盖 3、6—螺母 4—固定螺钉 5—毛坯
(5)镂空正四面体三棱锥带定位轴的第四个平面:将图1-128所示的定位轴12装入夹具体1中的30°斜面φ20mm定位孔中(孔和轴的间隙在0.03~0.06mm),用螺母5锁紧,将已经车好面圆柱孔正四面体三棱锥的一个圆柱孔面放入定位轴12的φ33.6
mm的轴中,拧紧螺母3,压紧正压盖2,将塞子11装入正四面体三棱锥的两个侧面孔中,拧紧侧护板7,固定工件,安装正护板8,固定正面,然后拧紧锁紧螺杆10接触在镂空的小正三棱锥的平面上,拧紧螺母9固定锁紧螺杆10,再拧紧侧护板7上的紧固螺钉,压紧塞子11,其固定在小正三棱锥的平面上,去掉正四面体三棱锥第四个面φ20mm定位轴,然后车削φ33.6mm、深度8.4mm的圆柱孔,完成正四面体三棱锥的镂空工作(见图1-129)。松开夹具上的所有紧固螺钉和压板,将正四面体三棱锥拆卸下来,取出塞子11,清除飞边,完成正四面体三棱锥(见图1-130)的镂空加工。用类似的方法可以完成正四面体三棱锥的多层镂空。

图1-128 锁空正四面体棱锥带定位轴的第四个平面示意
1—夹具体 2—压紧正压盖 3、5、9—螺母 4—紧固螺钉 6—工件 7—侧护板 8—正护板 10—锁紧螺杆 11—塞子 12—定位轴

图1-129 镂空正四面体三棱锥示意

图1-130 镂空完成的零件示意