2025年11月14日
配天机器人2025年11月14日
TE2025年11月14日
西门子2025年11月14日
新时达2025年11月14日
蔡司工业
2025年11月13日
埃尔森
2025年11月10日
BBS
2025年11月07日
劳易测
2025年11月06日
和利时
2025年11月14日
威图
2025年11月14日
TE
2025年11月14日
KUKA
2025年11月14日
先导智能
2025年11月14日
TDK
螺纹联接因其构造简单,拆装方便,都已标准化,批量生产,成本低廉,联接可靠,有足够的强度、刚度和自锁性,广泛用于各种金属结构和机构中。
1、螺纹及螺纹联接的主要参数
螺纹的外表面是圆柱螺旋线。圆柱螺旋线是沿着圆柱表面运动的点的轨迹,该点的轴向位移a与相应的角位移a成正比,在圆柱表面上,沿着螺旋线所形成的连续凸起和沟槽称为螺纹。

螺纹由外螺纹和内螺纹组成,按照母体形状,螺纹分为圆柱螺纹和圆锥螺纹。根据牙型可分为三角螺纹、矩形螺纹、梯形螺纹和锯齿形螺纹。三角形螺纹用于联接,后三种螺纹用于传动。
螺纹的主要参数有:
① 线数:如果有两个以上的动点,同时在同一个圆柱面上作同样的螺旋运动,且轴向为等距分布时,则形成多线螺旋线。螺旋线的条数称为螺纹的线数,用n表示。
② 旋向:点沿圆柱表面运动的角位移方向和轴向位移方向不同,螺旋线有右旋和左旋之分,螺钉顺时针旋入的称为右旋螺纹,逆时针旋入的称左旋螺纹,常用大多数螺纹都是右旋的。

③ 牙型角α:牙型半角α/2:在螺纹牙型上,连接牙顶和牙底的侧表面称为牙侧,相邻牙侧间的夹角α叫牙型角。牙侧与螺纹轴线的垂线的夹角α/2叫牙型半角。
④ 外径(大径)d:与外螺纹牙顶或内螺纹牙底相重合的假想圆柱面的直径叫螺纹外径(或大径),亦称公称直径。
⑤ 内径(小径)d1:与外螺纹牙底或内螺纹牙顶相重合的假想圆柱面的直径叫螺纹内径(或小径)。
⑥ 中径d2:指一个假想的中径圆柱的直径,该圆的母线通过牙型上沟槽和凸起宽度相等的地方。
⑦ 螺距P:相邻两牙在中线上对应相点间的轴向距离。
⑧ 导程S:同一条螺旋线上相邻两牙在中线上对应两点间的轴向距离,S=nP, 对单线螺纹而言,因n=1,所以S=P。
⑨ 螺旋升角φ:在中径圆柱上,螺旋线的切线与垂直于螺纹轴线的平面的夹角。

用于联接的螺纹主要有:普通螺纹与管螺纹。普通螺纹牙型角60°,以外径d为公称直径。同一公称直径可有多种螺距的螺纹。其中最大螺距的螺纹叫粗牙螺纹,其余的都叫细牙螺纹。一般联接常用粗牙螺纹,据公称直径查标准选用。细牙螺纹升角小,自锁性好。细牙螺纹比粗牙螺纹钉杆强度高,但不耐磨,易滑扣,多用于薄壁零件。
管螺纹有牙型角55°的英制细牙螺纹,公称直径为管子内径,还有圆锥管螺纹,牙型角有55°和60°两种,不同填料即可保证联接紧密性。
2、螺纹联接的主要型式,标准联接零件
螺纹联接的主要型式有:
①螺栓联接:当被联接件不太厚时,用普通螺栓贯穿两个(或多个)被联接的孔,再拧紧螺母,此种应用最广。
② 螺钉联接:如被联接之一较厚,即可采用螺钉联接。螺钉拧入深度与螺钉及被联接件的材料有关,按等强度条件决定的最小拧入深度可查有关手册。此种联接不适于经常拆卸的联接,经常拆卸可使螺孔磨损导致修理困难及被联接件的报废。
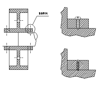
③ 双头螺柱联接:用于被联接件之一较厚而又经常拆装的场合。拆装时只需卸下螺母,不必拧出螺柱。
设计时注意双头螺柱必须紧固。在拧松螺母时,保证螺柱在螺孔中不得转动。双头螺柱联接常用的紧固方式如下页图所示:

其中:
(a)利用过盈配合螺纹,拧入螺纹孔,构成旋合全长横向收紧;
(b)利用螺纹收尾部分(不完全螺纹)挤入螺纹孔构成局部横向收紧;
(c)利用挡环端面抵紧螺纹孔,并使螺柱轴向定位;
(d)利用螺柱顶部结构,抵紧螺纹孔底面,构成轴向固紧。
④紧定螺钉联接:将钉拧入一个零件的螺纹孔,使钉的末端顶住另一零件表面或顶入相应的坑穴。它主要用于固定两零件的相互位置,不宜传递很大的力或力矩。

螺纹联接用标准联接件主要有以下六种:
①螺栓:按加工精度不同分为粗制螺柱和精制螺栓两种。螺栓头部常用的有标准六角头,小六角头、方头……
② 双头螺柱:两端均制有螺纹,共拧入机体端的螺纹长度为L1,L1的大小与被联接件的材料有关,当钢对钢连接时,L1=d,当钢对铸铁联接时L1=1.25d和L1=1.5d,当钢对铝合金时L1=2d。
③ 螺钉:结构形状与螺栓类似,但螺钉头部形式较多,其中内、外六角头可施加较大的拧紧力矩。圆头和十字头都不便施加较大力矩,所以选用的直径不要过大,一般不超过10mm。
④ 紧定螺钉:其头部和尾部的形式很多,常用尾部形状有锥端,平端和圆柱端,一般要求尾端要有足够的硬度。
⑤ 螺母:常用六角螺母,亦有粗制和精制之分。按其高度不同分为标准螺母,扁螺母及厚螺母。如要求减轻重量且不常拆卸可用扁螺母,常拆卸时用厚螺母。
⑥垫圈:常用的附件,放在螺母与被联接件之间,可以保护支撑面或防止螺母松脱(弹簧垫圈等)。
3、螺纹紧固件的强度级别
国家标准规定:螺纹紧固件按其材料机械性能分级,强度级别由数字表示:螺栓用两个数字表示,小数点前面的数字代表材料的抗拉强度极限的1/100, 小数点后面的代表材料的屈服极限与抗拉强度极限之比的10倍。螺母用一个数字表示,为防止螺纹副咬死和减少磨损,应使螺母的材料级别比螺栓材料的级别低。
4、螺纹联接的预紧与防松
按螺纹联接装配时是否拧紧,分为松联接和紧联接。固定滑轮的联接螺栓就是松联接的典型例子,这种螺栓只有在承受外载荷时才受到力的作用。
实际应用中,绝大多数联接在装配时就需要拧紧,此时螺栓所受的力叫预紧力。预紧可增加联接刚度,紧密性和提高防松能力。
联接螺纹标准件都能满足自锁条件。螺母或钉头与被联接件支撑面间的磨擦力也有助于防止螺母松脱。但是,如果温度变化大或承受冲击荷载,或振动都会使螺母逐渐松脱,设计时必须按工作条件及可靠性要求,结构特点考虑设置防松装置。这种防松装置一般可分为三类:
① 利用磨擦力防松,弹簧垫圈是结构简单、使用方便的防松零件,但因弹力不均而不十分可靠。还可用双螺母防松。还可用锁紧螺母防松。锁紧螺母上端开口后径向收口,拧紧后张开,靠螺母弹性锁紧,简单可靠,可多次拆装,用于较重要场合。

② 利用联接件的形状防松
利用附加联接件的形状,或改变螺纹副的形状使螺纹副不能相对转动。其做法有:
六角槽螺母:设置开口销,安装时在螺杆末端钻孔(指开口销)可用于承受冲击线载荷变化较大的联接。
单耳止动圈:将其一边弯起贴在螺母侧面上,另一边弯下贴在被联接件的侧壁上,防松可靠。

三联止动垫圈:将三个螺母拧紧后把垫圈的两边分别扳起贴在三个螺母的侧面上,使三个螺母彼此制约。
串联钢丝:用于螺钉数目不多且排列较密的联接,注意钢丝穿联方向,图中右图方向合理,防松效果,但安装费时。

端面冲点:属于永久止动,用于不拟拆卸的螺纹联接。
③ 利用附加材料防松,如将螺母焊在钉杆上,侧面焊死,或用粘合剂涂在螺纹表面,不仅防松还可密封。
5、螺栓组结构设计应考虑的因素
① 从加工看,联接接合面的几何形状应尽量简单,常使螺栓组的形心与联接面的形心相重合。最好有两个对称轴,加工计算都方便。通常采用条状或环状接合面,减少加工量和接合面不平的影响,同时增加联接刚度。
② 受力矩作用的螺栓组,螺栓布置尽量远离对称轴,同一圆周上螺栓数目应采用4,6,8,12……便于划线和分度。
③ 螺栓受力要合理,对受横向载荷的普通螺栓可采用减荷装置。或改用铰制孔螺栓,尽量避免螺栓受附加弯曲载荷(如支承面不平,螺母孔不正,被联接件刚度小,联接机体孔偏斜等)。

④ 装配时使每个螺栓的预紧力一样,使接合面产生均布压力。因此相邻螺栓的中心距t一般应小于10d。对有紧密性要求的联接,要按有关规定设计t值。t值大小还要考虑扳手的活动空间,因此t值也不能太小。
6、螺栓组受力情况
① 受横向载荷的螺栓组联接:包括螺栓组连接、普通螺栓联接和铰制孔用螺栓联接。
对普通螺栓联接,螺栓预紧后在结合面间产生压紧力,靠磨擦力抵抗横向外载荷。
对铰制孔用螺栓联接,在横向外载荷作用下,螺栓杆承受剪切和挤压。
② 对受旋转力矩的螺栓组联接,其受力情况与横向载荷基本相同。
③ 受轴向载荷的螺栓组联接:多螺栓受力均匀,其轴线相同,设想螺栓均布,每个螺栓受外载荷相同。
④ 受翻转力矩的螺栓组:翻转趋势与M转向相同。
图(b)为在预紧力作用下,接合面间的挤压应力分布图。
图(c)为翻转力矩作用下,接合面间的挤压应力分布图。
图(d)为不考虑受载螺栓预紧力变化时,翻转力矩产生应力与预紧力合成后,挤压应力的分布图。由图看出,接合面左边缘挤压应力最小,右边缘挤压应力最大。

螺栓联接设计时,不论其受什么样外载荷,均先求出螺栓组受的总合力,然后再进行单个螺栓的强度计算。
7、提高螺栓联接强度的措施
①改善螺纹牙间载荷分配不均现象
从刚度变形来分析,在力的传递过程中,螺栓受拉,螺距增大,而螺母受压螺距减小,两者螺距的变化差要靠旋合螺纹的弯剪变形来协调补偿。研究情况表明,从螺母支承面算起第一圈纹牙变形最大,第二圈次之,以后递减,因此采用圈数过多的螺母并不能提高联接强度。为改善螺纹牙上载荷分布的不利情况,常采用的方法有:
设悬置螺母,使母体和螺栓都受拉,减少螺距变化差,使螺纹牙上载荷分布均匀。
用内斜螺母,螺母旋入端制成10°~15°的内斜角,原受力大的下面几圈螺纹牙受力点外移,刚性随之减小,载荷上移,使载荷分布趋于均匀。
环槽螺母,螺母开割凹槽,造成螺母部分受拉,作用同设悬置螺母。

这些措施加工复杂,只适用于重要场合。
②减少螺栓应力幅
受交变载荷的螺栓联接来说,增加螺栓长度、减小螺杆横截面积或减小螺杆材料的弹性横量E都可降低螺杆刚度,如采用柔性螺栓。
减少应力集中,在螺栓的螺纹牙上、螺纹收尾处、过渡圆角处、杆截面变化处都有应力集中。其中螺纹牙根的应力集中影响很大,可增大牙根的圆角半径,如将r=0.1443p增为r=0.21p,螺栓联接强度可提高24%~40%。此外加大钉头钉杆过渡圆角,切制卸载槽及采用卸载过渡,螺纹收尾退力槽等均可减少集中应力。

这些措施的缺点是增加了成本,只在重要联接时使用。
④避免附加应力
如支撑面不平、螺母孔不正、被联接件打孔不在一条直线上,被联接件刚度过小,钩头联接,都使联接产生附加应力,设计中要加以避免。
⑤采用合理的制造工艺
制造工艺对螺栓的疲劳强度有很大影响,加工时螺纹表面层中产生的残余应力应想办法消除。
滚压螺纹比车制螺纹工艺好。车制螺纹把本来表面质量较好的棒料车去,金属纤维也被车去不合理,而滚压螺纹是利用材料的塑性成形,滚压后金属组织紧密,螺纹工作时力流方向与材料纤维方向一致,其强度比车制螺纹提高40%~95%。
对螺纹表面氮化,氰化等表面硬化处理也可提高螺栓的疲劳强度。