2025年11月14日
配天机器人2025年11月14日
TE2025年11月14日
西门子2025年11月14日
新时达2025年11月14日
蔡司工业
2025年11月13日
埃尔森
2025年11月10日
BBS
2025年11月07日
劳易测
2025年11月06日
和利时
2025年11月14日
威图
2025年11月14日
TE
2025年11月14日
KUKA
2025年11月14日
先导智能
2025年11月14日
TDK
在刚性足够的情况下,尽可能使用小规格的ER刀柄,可以让刀具得到最大的夹持力。
(本篇选自《数控刀具选用指南》第八章第五节(三)弹簧夹头刀柄)
1. 普慧HER筒夹式高速刀柄 普慧公司生产的HSK-A型筒夹式刀柄如图1所示,其结构如图2所示,规格见表1。

图1 普慧HSK-A型筒夹式刀柄

图2 普慧HSK-A型筒夹式刀柄结构
表1 普慧HER筒夹式高速刀柄规格尺寸(单位:mm)


其特点如下:
(1)具高刚度及高精度特性,既可重切削,也能高效精加工。
(2)5μm以下跳动精度,可减少刀具磨耗,改善表面粗糙度。
(3)200N·m超强夹持扭力,比一般ER刀柄大2.3倍。可优化背吃刀量及进给效率。
(4)全圆螺帽设计,并经动平衡校正,高速加工稳定。
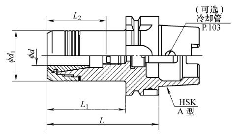
2. 肯纳金属HSK40型弹簧夹头刀柄 肯纳金属生产的HSK40A型ER单角度弹簧夹头刀柄如图3所示,其规格如表2所示。

图3 肯纳金属的HSK40A型ER单角度弹簧夹头刀柄及其结构
a )刀柄外观 b)刀柄结构
表2 肯纳金属的HSK40A型ER单角度弹簧夹头刀柄规格(单位:mm)

其特点如下:
1)夹持力(2∶1的机械效益)。
2)锁入式防松螺母设计用于固定弹簧夹头。
3)出色的平衡设计。
4)内冷式刀夹。
3. 山高HSK-A型弹簧夹头刀柄 山高公司生产的5672型高精度弹簧夹头刀柄属于HSK-A型,如图4所示,其规格如表3所示。

图4 山高公司的HSK-A型弹簧夹头刀柄及其结构
a )刀柄外观 b)刀柄结构
表3 山高公司的HSK-A型弹簧夹头刀柄规格

该刀柄夹持系统最高转速如表4所示,而当夹头螺母在最高扭矩被拧紧时可传递的静态扭矩如图5所示。
表4 5672型高精度弹簧夹头刀柄夹持系统最高转速


图5 5672型高精度弹簧夹头刀柄可传递的静态扭矩
其特点如下:①5672-高性能夹头刀柄系统结合了高的跳动精度、高的传递扭矩和高速切削加工的适用性。②带有ER HP夹头时,在悬伸长度3×d(不超过最大值50mm)处测量的与刀柄尾锥面相关的跳动量最大值为3μm 。③柄部为圆柱柄DIN 1835-1 A型/DIN 6535 HA型,且刀具柄部直径要与夹头内孔相近(无夹紧范围)且公差最大为h10。