2025年11月14日
配天机器人2025年11月14日
TE2025年11月14日
西门子2025年11月14日
新时达2025年11月14日
蔡司工业
2025年11月13日
埃尔森
2025年11月10日
BBS
2025年11月07日
劳易测
2025年11月06日
和利时
2025年11月14日
威图
2025年11月14日
TE
2025年11月14日
KUKA
2025年11月14日
先导智能
2025年11月14日
TDK
据外媒报道,通用汽车为一种新型远程自动驾驶汽车牵引系统提交了专利申请,为在其不断增加的自动驾驶技术新增了一项功能。

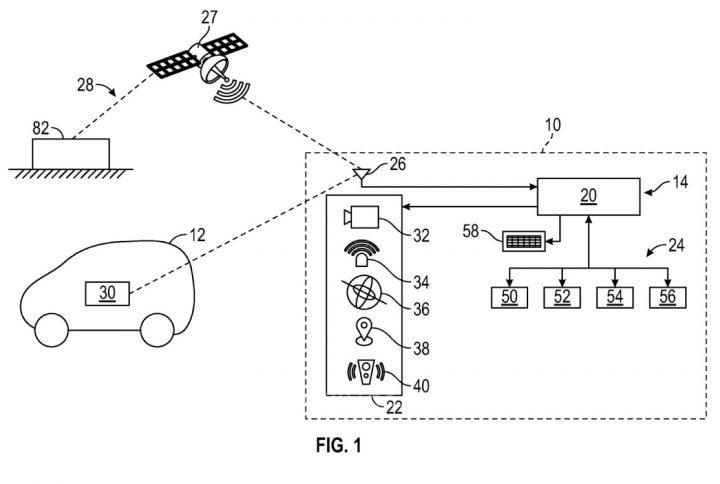
通用汽车专利图1(图片来源:)
该项专利申请已由美国专利商标局(USPTO)授权申请号US 2023/0082897 A1,并于2023年3月16日被公布。该专利由通用汽车于2021年9月10日提交,发明人为该公司密歇根州的几名工程师,Rasoul Salehi、Yao Hu、Arun Adiththan和Yilu Zhang等。
该专利描述了一种系统,通过该系统,一辆自动驾驶系统不能正常工作但驱动系统可正常工作的自动驾驶汽车可由第二辆自动驾驶汽车通过无线方式“被引导”到指定目的地。
正如通用汽车专利所指出的那样,自动驾驶汽车的自动驾驶系统可能会出现问题,导致车辆无法自动驾驶,例如,传感器阵列出现硬件问题,或车载算法出现软件问题等。虽然自动驾驶汽车可能还会有一个正常工作的推进系统和底盘系统,但是用于引导推进系统和底盘系统的自动驾驶系统可能无法操作。

通用汽车专利图2(图片来源:)
在此种情况下,通用汽车的专利描述了一种远程自动驾驶汽车牵引系统,其中第二辆自动驾驶汽车可对第一辆汽车无法操作的自动驾驶系统进行无线控制,将第一辆汽车引导至指定目的地。
通用汽车提出的该款新系统可以在自动驾驶汽车的车载自动驾驶系统出现故障的情况下提供一个快速解决方案,不再需要人类驾驶员或牵引车将无法操作的自动驾驶汽车运送到指定目的地。
事实上,通用汽车自动驾驶汽车部门部署的自动驾驶汽车Cruise此前偶尔也会出现故障。