2025年11月14日
配天机器人2025年11月14日
TE2025年11月14日
西门子2025年11月14日
新时达2025年11月14日
蔡司工业
2025年11月13日
埃尔森
2025年11月10日
BBS
2025年11月07日
劳易测
2025年11月06日
和利时
2025年11月14日
威图
2025年11月14日
TE
2025年11月14日
KUKA
2025年11月14日
先导智能
2025年11月14日
TDK
随着各国政府出台举措来推动减少内燃机 (ICE) 汽车排放的温室气体,原始设备制造商 (OEM) 纷纷将机械系统重新设计为电子控制系统。高水平的系统连接和智能技术使自动驾驶汽车成为现实,因此市场对电子产品和软件算法的需求不断增长,以符合包括国际标准化组织 (ISO) 26262 在内的各项安全要求。
传感器,尤其是角度传感器,在需要满足功能安全标准的系统中不可或缺。它有助于监控和提供扭矩和角度信息,而这些信息是高效驱动或运行各种汽车系统所必需的。
设计 EPS 系统
电动助力转向系统 (EPS) 由转向柱、电子控制转向电机以及电子感应与控制机制组成。当驾驶员转动方向盘时,由电机(通常是无刷直流电机)协助转向,这取代了传统的机械和液压系统。
EPS 系统的优点包括运行更快且更智能、减少二氧化碳排放、提高燃油效率并增强用户体验。驾驶员在方向盘界面提供系统输入。传感器检测电机轴的位置和方向盘的旋转,并将数据发送到电子控制单元 (ECU)。图 1 突出显示了 EPS 系统的基本元素。

图 1:EPS 系统
设计 EPS 系统所需的组件包括微控制器、传感器、电源、电机驱动器和晶体管。这些组件对于系统高效通信和运行至关重要。如图 2 所示,控制器局域网是用于连接车辆中 ECU 的总线标准。

图 2:EPS 系统方框图
TMAG6181-Q1 是各向异性磁阻 (AMR) 角度传感器。它具有集成信号调节放大器,能够提供与所施加平面磁场的方向相关的差分正弦和余弦模拟输出。
TMAG6181-Q1 的延迟低于 2µs,角度误差仅为 0.4 度,有助于大大提高系统性能和效率。传感器的集成匝数计数器可以跟踪电机在正常运行模式下最高 32,000 转/分 (rpm) 的转速和低功耗模式下最高 8,000 rpm 的转速。它还能支持多种器件和系统级诊断功能,可检测、监控和报告器件运行期间的故障。例如,在睡眠或故障模式下,TMAG6181-Q1 AMR 传感器的输出将进入高阻抗状态。建议使用下拉或上拉电阻,以确保微控制器能够检测故障。
要处理 AMR 输出信号并提取 EPS 电机或方向盘的角度位置,通常需要外部微控制器。TMAG6181-Q1 中的 AMR 角度传感器可用于单端或差分输出模式;后一种模式可消除系统中的共模干扰。来自 AMR 传感器的差分输出正弦和余弦信号与所施加磁场的角度成正比。AMR 传感器的输出电压与电源电压成比例,以确保外部 ADC 能够参考电源电压。
图 3 展示了一个典型应用图,其中差分输出信号 SIN_P、SIN_N、COS_P 和 COS_N 连接到外部微控制器中的四个单端模数转换器,而外部微控制器与 EPS 系统中的 ECU 通信。

图 3:单端输出模式下的 TMAG6181-Q1
如果有的话,建议使用差分 ADC,因为它能够提高可靠性。要获得高精度,负载电容器和电阻必须相互匹配。TMAG6181-Q1 可直接在 AMR 输出引脚上驱动高达 10nF 的容性负载,并驱动拉电流和灌电流高达 1mA 的电阻负载。这可实现 EPS 系统的平稳可靠运行。
为简化合规性,针对 TMAG6181-Q1 提供了 ISO 26262 系统设计文档,其中汽车安全完整性等级高达 B 级。
设计电动自行车和电动踏板车系统
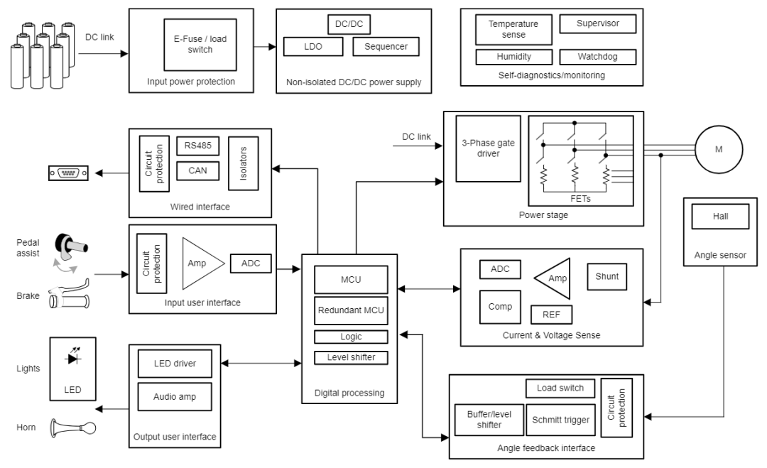
电动自行车是包含五个关键组件的自行车:电机、电池、控制装置、传感器和显示屏。电机是电动自行车不可或缺的一部分,可用于在脚踏期间提供所需的额外电力。如图 4 中的方框图所示,若要高效可靠地旋转电机(可安装在前部、中央或后部),需要角度传感器。
电动踏板车是从燃气驱动转换为电动的踏板车。它的电机驱动系统设计与电动自行车非常相似,只不过它没有那么复杂。电动踏板车设计只需在油门踩下时为电机供电即可,但电动自行车设计还必须监测骑手的脚踏动力,以确定向电机的供电量。不同地区要求电动自行车和电动踏板车达到与汽车行业相似的安全水平。
图 4 重点介绍了开发电动自行车系统所需的组件。角度传感器可提供角度反馈,然后由微控制器计算角度反馈,从而有效可靠地旋转电机。AMR 传感器通常限制为 180 度,但 TMAG6181-Q1 在 X 和 Y 轴增加了两个独立的霍尔效应传感器输出,可将传感器的角度范围扩大到 360 度。

图 4:电动自行车方框图
结语
当今的汽车和电动自行车包含多个 ECU,用于驱动和控制高级功能。设计 EPS 系统、电动自行车或电动踏板车需要 ECU 精确控制,以实现高效可靠的运行。TMAG6181-Q1 可实现更快、更精确的电机控制,有助于提高系统性能。
来源:德州仪器